查看: 4501|回复: 3

三员管理-日志查看

升级   3.65%

15

主题

5

回帖

365

积分

注册会员

Rank: 2

积分
365
发表于 2024-3-4 11:49:53|来自: | 显示全部楼层 |阅读模式
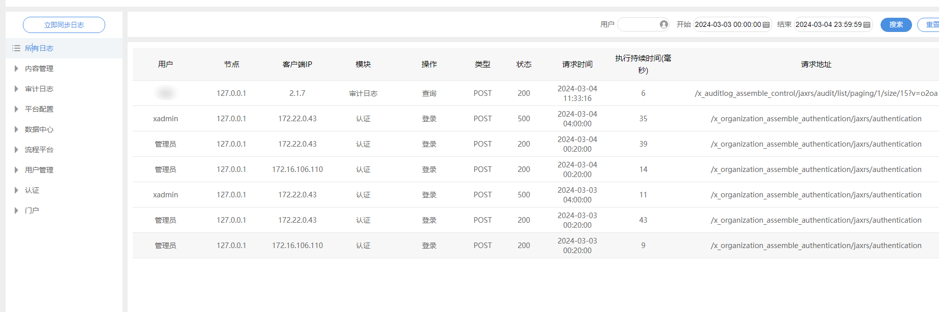
65e5444f0b48c.png 系统版本8.0.5
其他操作日志无法查看:(普通用户正常操作无用户日志)
回复

使用道具 举报

升级   100%

139

主题

1万

回帖

4万

积分

超级版主

Rank: 8Rank: 8

积分
41458
发表于 2024-3-4 17:12:30|来自: | 显示全部楼层
管理员这边测试,普通用户也是记录的
这个日志不是实时的,五分钟同步一次,您会不会还没同步过来?您可以点击一下左上角的立即同步,试试看
回复

使用道具 举报

升级   3.65%

15

主题

5

回帖

365

积分

注册会员

Rank: 2

积分
365
发表于 2024-3-7 15:35:54|来自: | 显示全部楼层
IP操作可以产生日志并查看,用域名操作没有日志产生,如何解决?
回复

使用道具 举报

升级   100%

0

主题

662

回帖

2

积分

管理员

Rank: 9Rank: 9Rank: 9

积分
2
发表于 2024-3-8 13:27:40|来自: | 显示全部楼层
理论上ip和域名是没有区别的,访问方式不影响o2记录日志,你搭建的是集群吗,如果是集群需要检查下环境
回复

使用道具 举报

发表回复

您需要登录后才可以回帖 登录 | 立即注册

本版积分规则

联系客服 关注微信 下载APP 返回顶部 返回列表
viewthread