查看: 6407|回复: 1

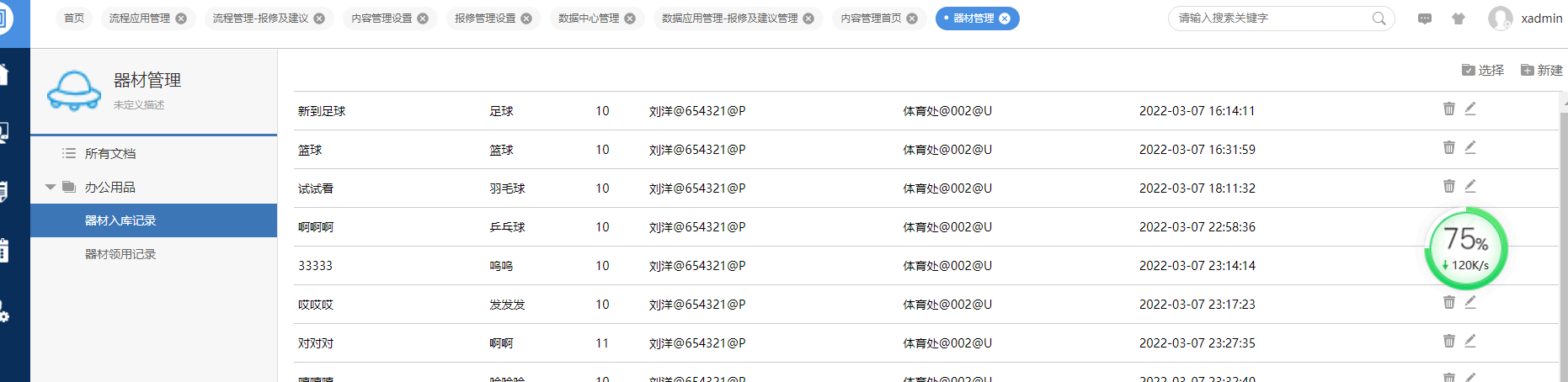
内容管理分类里面选择视图无法渲染列名

升级   0.06%

88

主题

135

回帖

6

积分

注册会员

Rank: 2

积分
6
发表于 2022-3-15 15:00:38|来自: | 显示全部楼层 |阅读模式
QQ截图20220315145826.png QQ截图20220315145808.png
在视图里的最上面的列名不显示哦。。
回复

使用道具 举报

升级   100%

139

主题

1万

回帖

4万

积分

超级版主

Rank: 8Rank: 8

积分
41458
发表于 2022-3-16 09:43:22|来自: | 显示全部楼层
这个已经解决了,最新版本还没发布
回复

使用道具 举报

发表回复

您需要登录后才可以回帖 登录 | 立即注册

本版积分规则

联系客服 关注微信 下载APP 返回顶部 返回列表
viewthread