查看: 3567|回复: 3

关于执行ctl -ec processPlatform后,台账还可以统计出来的问题

升级   1.35%

5

主题

6

回帖

135

积分

注册会员

Rank: 2

积分
135
发表于 2023-6-21 09:01:22|来自: | 显示全部楼层 |阅读模式
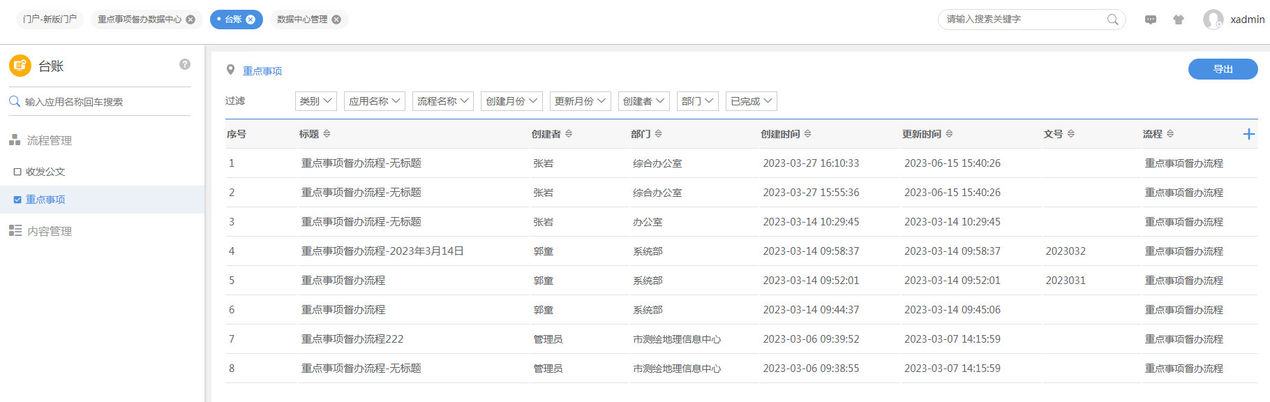
先执行ctl -ec processPlatform,再升级到最新的8.0.0.3后,在数据中心里数据都清空了,但是在台账中还是可以统计出来

2023-06-21_085956.jpg
2023-06-21_090012.jpg
回复

使用道具 举报

升级   100%

5

主题

1688

回帖

1019

积分

管理员

Rank: 9Rank: 9Rank: 9

积分
1019
发表于 2023-6-21 11:56:21|来自: | 显示全部楼层
是的,台账的数据单独存的,命令清除流程数据,台账那边没有清除。所以还能统计出来。这个我反馈给研发一下。
回复

使用道具 举报

升级   1.35%

5

主题

6

回帖

135

积分

注册会员

Rank: 2

积分
135
发表于 2023-6-21 16:43:44|来自: | 显示全部楼层
收到,谢谢
回复

使用道具 举报

升级   100%

139

主题

1万

回帖

4万

积分

超级版主

Rank: 8Rank: 8

积分
41458
发表于 2023-6-25 10:16:21|来自: | 显示全部楼层
回复

使用道具 举报

发表回复

您需要登录后才可以回帖 登录 | 立即注册

本版积分规则

联系客服 关注微信 下载APP 返回顶部 返回列表
viewthread