查看: 4100|回复: 3

有已办但是程序没有流转,没有流转记录

升级   5.93%

44

主题

68

回帖

593

积分

注册会员

Rank: 2

积分
593
发表于 2023-8-18 11:03:47|来自: | 显示全部楼层 |阅读模式
本帖最后由 leo-007 于 2023-8-18 11:05 编辑

管理员大大

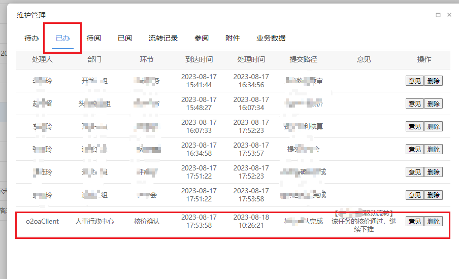
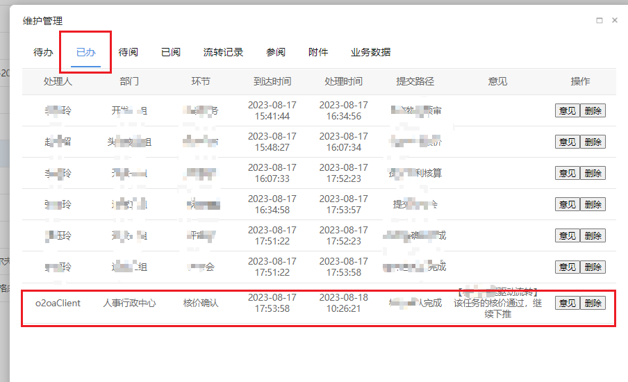
我们使用的是8.0.4版本,然后通过自动流转的脚本驱动一个流程的流转,现在出现这一个现象: 有已办但是流程没有流转,worklog也没有生成
64dedec22af31.png        64dedeb945158.png
然后在管理员维护界面显示这个流程没有当前节点,然后点击尝试流转之后,可以流转到下一步。请问遇到这个情况是什么原因,怎么思路排查呢
64dedebc95abd.png
回复

使用道具 举报

升级   100%

5

主题

1688

回帖

1019

积分

管理员

Rank: 9Rank: 9Rank: 9

积分
1019
发表于 2023-8-18 17:33:58|来自: | 显示全部楼层
您自动流转的脚本怎么写的?调用的什么方法去流转的?
回复

使用道具 举报

升级   5.93%

44

主题

68

回帖

593

积分

注册会员

Rank: 2

积分
593
发表于 2023-8-19 13:35:36|来自: | 显示全部楼层
xadmin 发表于 2023-8-18 17:33
您自动流转的脚本怎么写的?调用的什么方法去流转的?


function processing(taskid, routeName, opinion) {

    //按路由id自动流转
    function processingTask(taskid, data) {
        var string = JSON.stringify(data);
        var serviceRoot = "x_processplatform_assemble_surface";
        var path = "task/" + taskid + "/processing";
        // var resp = this.applications.putQuery(serviceRoot, path, string);
        var resp = _self.applications.postQuery(serviceRoot, path, string);
        var json = JSON.parse(resp.toString());
        print("commonServerFunc--->processing---> 执行接口返回json" + JSON.stringify(json))
        if (json.type == "success") {
            print("commonServerFunc--->processing---> 自动流转成功")
            return true;
        } else {
            print("commonServerFunc--->processing---> 自动流转失败 : " + json.message);
            return false;
        }
    }
    var data = {};
    data["routeName"] = routeName;
    data["opinion"] = opinion;
    processingTask(taskid, data);

}


回复

使用道具 举报

升级   100%

139

主题

1万

回帖

4万

积分

超级版主

Rank: 8Rank: 8

积分
41458
发表于 2023-8-21 09:44:10|来自: | 显示全部楼层
本帖最后由 论坛管理员 于 2023-8-21 09:47 编辑

管理员代流转,用下面这个接口
64e2c2138ea2a.png
回复

使用道具 举报

发表回复

您需要登录后才可以回帖 登录 | 立即注册

本版积分规则

联系客服 关注微信 下载APP 返回顶部 返回列表
viewthread