12下一页
发帖
查看: 15929|回复: 10

已经完成的流程怎么删除(已处理)

升级   0.44%

2

主题

8

回帖

44

积分

注册会员

Rank: 2

积分
44
发表于 2022-6-23 11:06:03|来自: | 显示全部楼层 |阅读模式
本帖最后由 MZTX4 于 2022-6-27 11:37 编辑

公司的管理不小心把产品流程删除了!删除的时候没有把已完成和建立的一起删除!现在就好像是废文件一样在哪里放着!点不开删除不了?请问应该怎么删除
微信图片_20220623110503.png
微信图片_20220623110524.png
回复

使用道具 举报

升级   0.44%

2

主题

8

回帖

44

积分

注册会员

Rank: 2

积分
44
发表于 2022-6-23 11:16:06|来自: | 显示全部楼层
本帖最后由 MZTX4 于 2022-6-23 11:19 编辑

我不知道这里能不能发悬赏的!如不能请管理告知!我会删除!
本次问题悬赏500元(欢迎接单)
回复

使用道具 举报

升级   1.74%

0

主题

26

回帖

174

积分

注册会员

Rank: 2

积分
174
发表于 2022-6-23 13:43:43|来自: | 显示全部楼层
MZTX4 发表于 2022-6-23 11:16
我不知道这里能不能发悬赏的!如不能请管理告知!我会删除!
本次问题悬赏500元(欢迎接单) ...

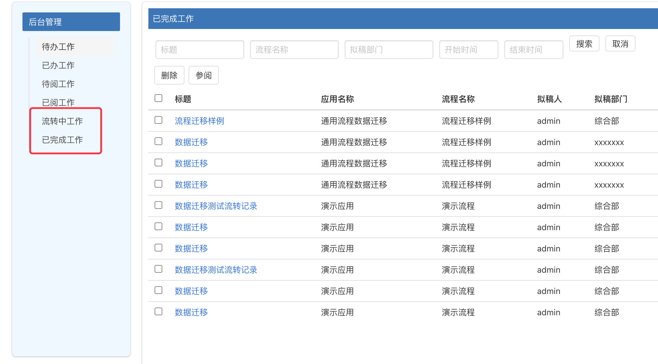
安装一下这个 流程维护工具,到这里取删除
http://host/x_desktop/portal.html?id=627d5907-a60a-423a-8e04-d85886462d33&page=c9f75721-26cb-4c41-8556-f0cd91d5de12


62b3fd77ea6b2.png

流程数据维护 (1).xapp.zip

36.01 KB, 下载次数: 14

回复

使用道具 举报

升级   0.44%

2

主题

8

回帖

44

积分

注册会员

Rank: 2

积分
44
发表于 2022-6-23 16:36:43|来自: | 显示全部楼层
本帖最后由 MZTX4 于 2022-6-23 17:12 编辑
大王叫我来巡山 发表于 2022-6-23 13:43
安装一下这个 流程维护工具,到这里取删除
http://host/x_desktop/portal.html?id=627d5907-a60a-423a-8e ...

知道怎么处理了!谢谢!!!!!我自己的删除了!!!!!公司别人的全部都还在!这个不是一删除?全部都没有的?只是删除我一个人的显示?先重起服务器看看!不过还是谢了
回复

使用道具 举报

升级   6.33%

9

主题

38

回帖

633

积分

注册会员

Rank: 2

积分
633
发表于 2022-6-23 17:24:58|来自: | 显示全部楼层
MZTX4 发表于 2022-6-23 11:16
我不知道这里能不能发悬赏的!如不能请管理告知!我会删除!
本次问题悬赏500元(欢迎接单) ...

哇塞哇塞,真的有500元吗? 楼主赏出去了吗?
回复

使用道具 举报

升级   0.44%

2

主题

8

回帖

44

积分

注册会员

Rank: 2

积分
44
发表于 2022-6-23 19:07:55|来自: | 显示全部楼层
本帖最后由 MZTX4 于 2022-6-23 19:09 编辑
MZTX4 发表于 2022-6-23 16:36
知道怎么处理了!谢谢!!!!!我自己的删除了!!!!!公司别人的全部都还在!这个不是一删除?全部都 ...

已经全部处理了!麻烦发一下微信或者支付宝!给你付款500
回复

使用道具 举报

升级   0.44%

2

主题

8

回帖

44

积分

注册会员

Rank: 2

积分
44
发表于 2022-6-23 19:18:24|来自: | 显示全部楼层
大王叫我来巡山 发表于 2022-6-23 13:43
安装一下这个 流程维护工具,到这里取删除
http://host/x_desktop/portal.html?id=627d5907-a60a-423a-8e ...

已经全部处理了!麻烦私发一下微信或者支付宝!给你付款500
回复

使用道具 举报

升级   1.74%

0

主题

26

回帖

174

积分

注册会员

Rank: 2

积分
174
发表于 2022-6-24 09:45:00|来自: | 显示全部楼层
本帖最后由 大王叫我来巡山 于 2022-6-24 09:47 编辑
MZTX4 发表于 2022-6-23 19:18
已经全部处理了!麻烦私发一下微信或者支付宝!给你付款500

已发

回复

使用道具 举报

升级   100%

139

主题

1万

回帖

4万

积分

超级版主

Rank: 8Rank: 8

积分
41458
发表于 2022-6-24 10:07:14|来自: | 显示全部楼层
首先祝贺ID为“MZTX4”的朋友,问题得到解决。
同时欢迎ID为“大王叫我来巡山”为更多的朋友解决疑难杂症。论坛里面果然有高手。
我司也有官方技术支持,会提供一对一的问题解答、排障等服务,欢迎咨询。
O2OA团队并祝大家工作顺利,吃的巴适,喝的安逸,过得快活。
回复

使用道具 举报

升级   0.44%

2

主题

8

回帖

44

积分

注册会员

Rank: 2

积分
44
发表于 2022-6-24 11:00:00|来自: | 显示全部楼层

已转-请查收!感谢你的帮助
回复

使用道具 举报

12下一页
发帖

发表回复

您需要登录后才可以回帖 登录 | 立即注册

本版积分规则

联系客服 关注微信 下载APP 返回顶部 返回列表
viewthread